|
February 1971 Radio-Electronics
[Table of Contents]
Wax nostalgic about and learn from the history of early electronics.
See articles from Radio-Electronics,
published 1930-1988. All copyrights hereby acknowledged.
|

AI-enhanced and colorized version of image below. Notice the
new dress material pattern.
You know you've gotten old when you have an "I remember when..." line for just
about every kind of product or process mentioned in a magazine article, video, or
conversation. Here is mine for microwave ovens. I remember that it was sometime
around 1977-79 that my father gave my mother a microwave oven for Christmas. It
was the most expensive gift anyone in our household had ever received. According
to this 1971 Radio-Electronics magazine article, household microwaves had
only been on the scene for about a decade. Given that color TVs had been on the
market for nearly two decades before we had one, this was an unprecedented step
forward in the Blattenberger home. We never owned a new car. A look at the wiring
diagram shown for this International Crystal microwave shows that other than a microcontroller
block, it is very much like the one for my c2022 General Electric microwave - pretty
simple (I am familiar with it because one week after the warranty expired, the LCD
display began flickering, and I took the beast apart to troubleshoot it). Note the
AI-enhanced versions of the original B&W photos. Amazing, non?
Microwave Ovens - A Brand New Way to Cook

MC-24 microwave oven from International Crystal fits on a countertop,
cooks in minutes.
Concentrated microwave energy can cook food fast. Here's how and why it works.
By Larry Steckler, Editor
Microwave ovens are the latest item in home electronics. They are becoming more
and more popular, so don't be too surprised to find yourself running into them from
time to time. Fortunately, they are also a relatively uncomplicated device. In this
article you will discover how they work, some cautions in working with and on them,
and some tips on how to keep them working.
How Microwaves Cook
Foods are heated in the microwave oven by the absorption of microwave power.
All food is constructed of many millions of molecules per cubic inch. These molecules
react to the microwave field in much the same manner as a compass needle reacts
to a magnet. If you place a magnet to one side of the compass, the needle will then
point to the magnet. If you then move the magnet to the other side of the compass,
the needle will turn and again point to the magnet. When this process is repeated
quickly and many times, eventually the friction in the bearing that supports the
needle will heat the bearing.

Cover off MC-24 microwave oven reveals the oven cavity, and electronic
circuits that make the oven work.

AI enhanced version - amazing.
Tappan 56-1139 microwave oven with some of the many foods it
can cook.
Amana Radarange is another countertop microwave oven being made
today.
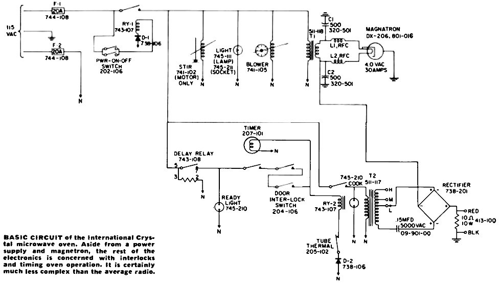
Basic circuit of the International Crystal MC-24 microwave oven.
Aside from a power supply and magnetron, the rest of the electronics is concerned
with interlocks and timing oven operation. It is certainly much less complex than
the average radio.

Everyday microwave oven repair guide. If you are called upon
to service an oven here are some guide lines to follow. They cover most common faults.

Choke-type door seal action is illustrated in this diagram. This
is an effective method used in microwave ovens.
The molecules in food react in a very similar manner to the changing microwave
field; that is, the molecules tend to align themselves with the field. The molecules
that make up the food which is cooked in the microwave oven are 68 a brand new Concentrated
microwave energy Here's why, and rotated from their starting position to 180° from
their starting position and back to their starting position 2,450 million times
a second. (This rate depends upon the operating frequency of the oven and can vary
from oven-to-oven. This constant and rapid rotation causes the food to get hot.
As the microwaves penetrate the food, power is lost to each successive layer of
molecules. The center molecules. therefore are not rotated a full 180° and less
heat is generated towards the center of the food than at the outside of the food.
Contrary to popular belief, food prepared in a microwave oven is not cooked from
the inside out, but is cooked all the way through at the same time with more cooking
being performed on the exterior of the food. It is, therefore, possible to prepare
a rare, medium, or well done roast in a microwave oven.
The fact that food is heated throughout makes it possible for the microwave oven
to cook food fast. Time required to cook an item in the microwave oven is solely
dependent upon how much heat is required, and in turn the amount of heat required
of the food and the weight of the food. In conventional cooking, only the surface
of the food is heated directly by the oven or grille. The heat required to cook
the inside portion has to be conducted from the surface.
Three factors govern the time required to cook an item in the more conventional
way. A minor one of these is how much heat is required. The major ones are, how
well does the food conduct heat, and how much can the surface be overheated without
causing serious defects. For example, let's take water. Water is a good conductor
of heat and the surface can be overheated without deterioration, therefore water
can boil fairly quickly on a range. On the other hand, let's take milk. Milk is
also a good conductor, but the surface cannot take overheating. If you try to boil
milk quickly, the milk will burn, therefore, milk has to be cooked slowly. Cake
is an example of a food that conducts heat poorly. Although a small amount of heat
is required to bake a cake, it must be cooked rather slowly because the conduction
to the center is poor.
Oven Circuits Used Today
A typical circuit for a microwave oven can be seen on page 70. You will note
that the magnetron is the heart of the oven. It is the device that converts dc power
into rf cooking energy. Magnetrons operate from a high voltage source (about 4000
volts dc) and a low ac voltage (3-volt heater supply) and in a magnetic field. The
tube itself consists of a plate, cathode and heater.
For the tube to operate, electrons must flow through the tube from the cathode
to the plate. To get the electrons to flow, high voltage must be applied between
the cathode and plate and the cathode must be heated by a heater.
So far what we have described could fit a diode. To convert this diode into a
magnetron, a magnetic field is applied parallel to the cathode. This field causes
the electrons to spin around the cathode instead of merely traveling from the cathode
to the plate.
The spinning action of the electrons and the physical shape of the plate causes
rf currents to flow on the surface of the plate. An antenna connected to the plate
directs the rf power to flow from the plate down the waveguide into the oven cavity.
Safe Microwave Cooking
All microwave ovens have several built-in safety devices. The idea is to prevent
the oven from being operated whenever the door is open and to prevent excessive
microwave radiation from reaching the oven exterior.
To start, all microwave ovens include interlock switches that turn off the magnetron
when the oven door is opened. Some ovens have a physical lock that does not permit
the user to open the door at all while the oven is on.
A second type of precaution protects the magnetron against damage. It is a time-delay
circuit that delays the application of high-voltage for at least 15 seconds. This
gives the magnetron heater time to warm up before high-voltage is applied. Also,
there is usually a thermal cutout that turns the oven off if the magnetron overheats.
Once generated, the microwaves must be contained so that only the food is cooked.
A combination of several techniques is used to insure this. The oven cavity is usually
made of stainless steel which reflects microwave energy and does not absorb any
power. Aluminum will do the same job and is sometimes used.
The door seal must also prevent the passage of microwave energy. Three basic
types are used. The first is a metal-metal pressure seal. This type depends upon
a metal-to-metal contact and its effectiveness depends upon maintaining a good contact
between the pressure plate and the cavity-door interface. Aging, denting. or grease
accumulations on the metal seal can deteriorate the contact and cause leakage to
increase.
A capacitive pressure door seal is also used. It differs from the metal-metal
seal in that it has a thin layer of dielectric material covering the contact plate.
At microwave frequencies this capacitive plate acts in the same manner as the metal-metal
seal. The dielectric coating however, increases the cavity-door interface breakdown
potential and therefore reduces the possibility of arcing between the door and the
cavity.
A choke door seal in the third type. It works on the waveguide principle that
a short circuit termination must have zero voltage and maximum current, while 1/4
wavelength away the current will be zero with the voltage at a maximum. With the
current at zero at the door edge, the radiation is also zero, so no leakage is possible.
Usually the quarter-wave slot formed around the door is filled with some dielectric
material so that food cannot get into the choke seal.
Microwave Radiation Hazards
When inspecting a microwave oven prior to repair there is always the danger of
improper operation causing potential exposure to excessive radiation. This can most
easily occur if the interlocks are not operating properly. To protect against this
hazard. never open the oven door of a microwave oven unless the high-voltage supply
is off. You can determine if it is off by checking the cooking timer. If this timer
is at zero, the magnetron is not operating. Don't rely on the interlock to cut off
the oven, it may not he working.
Some ovens use a perforated metal screen over the door panel to permit viewing
the interior. It is important that you do not poke any metal objects through these
openings. A metallic object could act as a receiving antenna in the cavity of an
operating oven while the other end could act as a transmitting antenna.
Above all, be careful Two final cautions. Never operate the oven with the oven
door open and the interlocks disabled. Microwave energy from an oven can be extremely
dangerous. It only takes a short exposure to cause an injury. Don't expose yourself
or anyone else to it.
Last, the magnetron has strong permanent magnets in its frame. Sharp blows can
cause the magnetic field to change, affecting tube operation. If the air chambers
are removed, be extremely careful to protect the magnets against damage.
Microwave ovens are still new and are likely to become commonplace. In the interim
we will keep you informed on all the latest developments in this expanding new field.
|